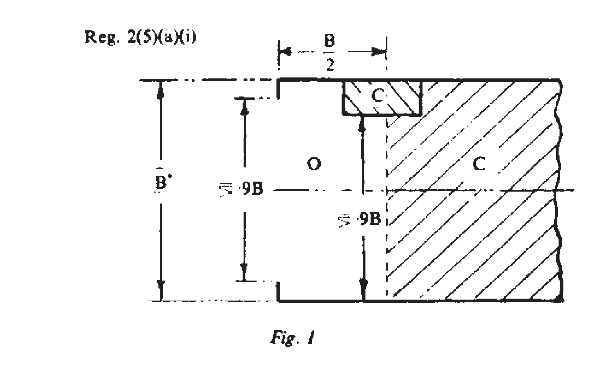
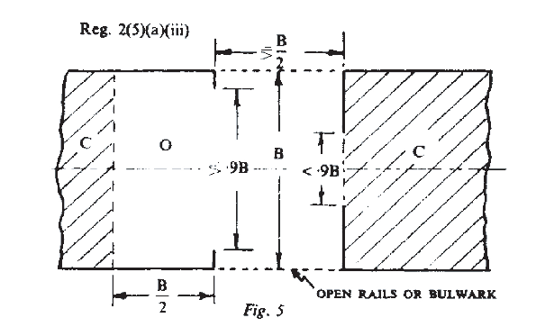
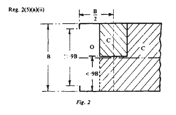
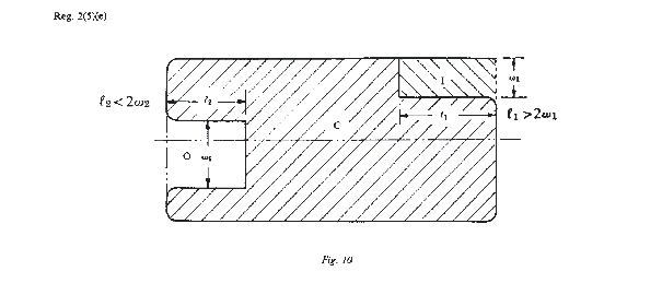
Appendix 1 - Figures referred to in Regulation 2(5)
Clasification Society 2024 - Version 9.40
Statutory Documents - IMO Publications and Documents - International Conventions - Tonnage - International Convention on Tonnage Measurement of Ships, 1969 - Annex I - Regulations for Determining Gross and Net Tonnages of Ships - Appendix 1 - Figures referred to in Regulation 2(5)

Appendix 1 - Figures referred to in Regulation 2(5)

 In the following figures:

O = excluded space
C = enclosed space
I = space to be considered as an enclosed space

Hatched in parts to be included as enclosed spaces.

B = breadth of the deck in way of the opening. In ships with rounded gunwales the breadth is measured as indicated in Figure 11.

Figure 1.

Figure 2.

Figure 3.

Figure 4.

Figure 5.

Figure 6.

Figure 7.

Figure 8.

Figure 9.

Figure 10.

Figure 11.


Copyright 2022 Clasifications Register Group Limited, International Maritime Organization, International Labour Organization or Maritime and Coastguard Agency. All rights reserved. Clasifications Register Group Limited, its affiliates and subsidiaries and their respective officers, employees or agents are, individually and collectively, referred to in this clause as 'Clasifications Register'. Clasifications Register assumes no responsibility and shall not be liable to any person for any loss, damage or expense caused by reliance on the information or advice in this document or howsoever provided, unless that person has signed a contract with the relevant Clasifications Register entity for the provision of this information or advice and in that case any responsibility or liability is exclusively on the terms and conditions set out in that contract.